找回密码
 立即注册
澳门威尼斯人
U8
U18
海燕招商
A
蓝盾
e世博
islot.
申博亚洲
澳门银河
B
开云
腾博会
德信
C级广告商
吉祥坊
华体会
查看: 190422|回复: 57

[真人] 【实战有奖】今天在通宝娱乐城输掉400

[复制链接]

3671

主题

7万

回帖

7293

金币

海燕硕士

积分
217892

万时之王老会员勤奋勋章交易勋章

发表于 2024-9-15 10:03 | 显示全部楼层 |阅读模式

马上注册,结交更多好友,享用更多功能,让你轻松玩转社区。

您需要 登录 才可以下载或查看,没有账号?立即注册

×
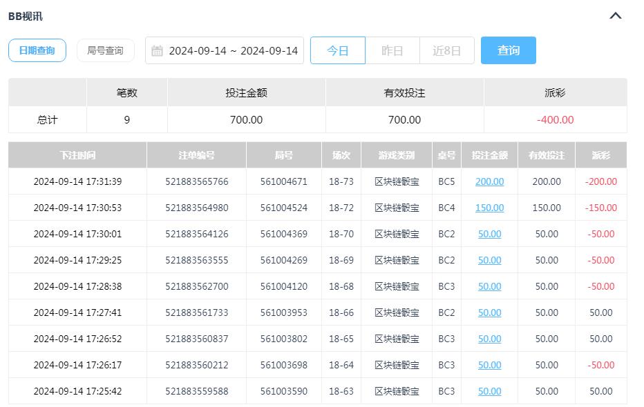
周末这几天玩的都不好啊,今天的区块链色子又输掉400块钱,开局第一单下注50大打出来345点数12成功收米了,第二弹继续下注大打出来125点数8输掉了,第三单下注小打出来115点数7收米了,第四单继续下注小打出来336点数1欧阳淞收米了,第五单下注小打出来663点数15输掉了,前面五单五单还是很不错的还有50块钱的盈利,后面的下注就是不给力了,运气真的是急转直下啊一波5连黑全部输光光本金了,今天的下注就是这样的怎么下注都是输钱的结果也是没办法了5 I7 _% \( g; f; m7 X7 W9 P5 v0 {
8 p0 x8 N: o. T
360截图20240915094932571.jpg 360截图20240915094959957.jpg 360截图20240915095009276.jpg 360截图20240915095019771.jpg
+ H. R/ j. Y6 g. @8 x, Q7 _2 y4 \" c" x& o
最后剩下200块钱的梭哈也是没有打出来全部输掉了,这两天的区块链色子都是输钱的结果,我感觉遇到周末都是输钱的时候多一点,昨天输掉1000今天又输掉400,本金本来就没有那么多输掉这么多钱真的是糟糕啊,着急上头了真的是很难控制自己的心态啊,总是想要快速赢回来损失反而输掉更多钱。5 N; W# |+ C) ^
9 `, i6 o7 n6 x, m
360截图20240915094948317.jpg
回复

使用道具 举报

头像被屏蔽

102

主题

9137

回帖

2659

金币

禁止发言

积分
23011

老会员美女勋章

发表于 2024-9-15 10:04 | 显示全部楼层
提示: 作者被禁止或删除 内容自动屏蔽
回复 支持 反对

使用道具 举报

209

主题

1万

回帖

1296

金币

千足金牌会员

积分
42520

老会员

发表于 2024-9-15 11:17 | 显示全部楼层
楼主这么一个情况,确实很是让人费解,只能及时去止损
回复 支持 反对

使用道具 举报

209

主题

1万

回帖

1296

金币

千足金牌会员

积分
42520

老会员

发表于 2024-9-15 11:18 | 显示全部楼层
尔不耳不斤 发表于 2024-9-15 10:04
0 o0 M; _7 ]" f9 S楼主亏损糟心啊,搞回来不能着急慢慢来吧,罗马不是一天建成的
- I# n6 ~+ `" ?: d6 m6 X" C
遇到连黑的时候心态特别的糟糕,要是调整不过来,真的很危险
回复 支持 反对

使用道具 举报

197

主题

6859

回帖

148

金币

银牌会员

积分
13995

老会员交易勋章

发表于 2024-9-15 12:03 | 显示全部楼层
9 Z( p. `; U; R9 T. l7 d2 r
输钱是我们不愿意面对的,但又没办法逆转,只能等下回搏杀了
回复 支持 反对

使用道具 举报

822

主题

1万

回帖

4564

金币

千足金牌会员

积分
40517

老会员交易勋章光影行者

发表于 2024-9-15 12:31 | 显示全部楼层
楼主这样的运气,真的是不大行的,希望以后都能够有个好的结果了。
回复 支持 反对

使用道具 举报

41

主题

2万

回帖

50

金币

金牌会员

积分
34299

老会员勤奋勋章交易勋章

发表于 2024-9-15 13:44 来自手机 | 显示全部楼层
楼主这次输得有点多了呀,还是挺遗憾的一个结果呀
回复 支持 反对

使用道具 举报

41

主题

2万

回帖

50

金币

金牌会员

积分
34299

老会员勤奋勋章交易勋章

发表于 2024-9-15 13:45 来自手机 | 显示全部楼层
hy188820 发表于 2024-9-15 11:17
+ L9 a3 i1 P8 ^  s& A楼主这么一个情况,确实很是让人费解,只能及时去止损

6 X' r/ C; q! }" ~没有好的运气的话,还是要选择先及时止损比较好吧
回复 支持 反对

使用道具 举报

41

主题

2万

回帖

50

金币

金牌会员

积分
34299

老会员勤奋勋章交易勋章

发表于 2024-9-15 13:46 来自手机 | 显示全部楼层
百万富豪 发表于 2024-9-15 12:315 S- p6 k7 D, l$ Q, l
楼主这样的运气,真的是不大行的,希望以后都能够有个好的结果了。
) v' d2 M; p/ a3 x1 j
只能重新调整好状态之后再继续了吧,楼主要加油哟
回复 支持 反对

使用道具 举报

31

主题

5597

回帖

2209

金币

银牌会员

积分
16391

老会员

发表于 2024-9-15 16:44 | 显示全部楼层
输了是不开心的,没关系,会有好运气来挽回损失
回复 支持 反对

使用道具 举报

3411

主题

8万

回帖

9623

金币

海燕硕士

积分
236127

万时之王老会员精华勋章勤奋勋章交易勋章光影行者

发表于 2024-9-15 17:02 | 显示全部楼层
看起来今天的这个运气还是不够理想的,希望下一次能够有好运的
回复 支持 反对

使用道具 举报

3411

主题

8万

回帖

9623

金币

海燕硕士

积分
236127

万时之王老会员精华勋章勤奋勋章交易勋章光影行者

发表于 2024-9-15 17:02 | 显示全部楼层
傻傻狠有福 发表于 2024-9-15 16:44! M4 J5 d# W5 }2 p, c
输了是不开心的,没关系,会有好运气来挽回损失

' l2 I& W% t" ?1 o* Y9 u这样的亏损的不开心还是完全可以接受的,希望下一次能够搞回来就好
回复 支持 反对

使用道具 举报

3411

主题

8万

回帖

9623

金币

海燕硕士

积分
236127

万时之王老会员精华勋章勤奋勋章交易勋章光影行者

发表于 2024-9-15 17:02 | 显示全部楼层
吕2244 发表于 2024-9-15 13:45, [* R# w2 d: l  U  F/ f2 b0 _
没有好的运气的话,还是要选择先及时止损比较好吧

! P5 P4 ?* S, ?9 y2 r如果玩游戏没有运气,当然是只能接受这样的一个亏损了
回复 支持 反对

使用道具 举报

2393

主题

8万

回帖

5378

金币

海燕硕士

积分
221943

老会员超级精华精华勋章美女勋章勤奋勋章交易勋章万时之王

发表于 2024-9-15 19:12 | 显示全部楼层
这个运气不行呀也是亏损的快速的呀,几百块就这样的没有了
回复 支持 反对

使用道具 举报

2393

主题

8万

回帖

5378

金币

海燕硕士

积分
221943

老会员超级精华精华勋章美女勋章勤奋勋章交易勋章万时之王

发表于 2024-9-15 19:12 | 显示全部楼层
lantianyun 发表于 2024-9-15 17:02
) {- N1 b' y5 t1 Y/ @" F2 ]如果玩游戏没有运气,当然是只能接受这样的一个亏损了
' v% E' }3 B  O' h$ j$ f
这个运气不行也不要玩为好的呀,亏损起来也是自己的钱呀
回复 支持 反对

使用道具 举报

您需要登录后才可以回帖 登录 | 立即注册

本版积分规则

广告合作|福利汇|论坛简介|钱包教程|手机版|小黑屋|Archiver|海燕论坛

快速回复 返回顶部 返回列表