找回密码
 立即注册
澳门威尼斯人
U8
U18
海燕招商
A
蓝盾
e世博
islot.
申博亚洲
澳门银河
B
腾博会
德信
C级广告商
吉祥坊
查看: 1108|回复: 82

[彩票] 晚上的彩票游戏节奏保持的稳定收500多块钱

[复制链接]

80

主题

2798

回帖

855

金币

铜牌用户

积分
8887

老会员

发表于 2026-4-20 02:52 | 显示全部楼层 |阅读模式

马上注册,结交更多好友,享用更多功能,让你轻松玩转社区。

您需要 登录 才可以下载或查看,没有账号?立即注册

×
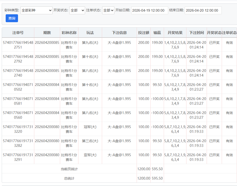
更多还是需要自己的游戏策略才有稳定的机会进一步收米,这段时间都是坚持三定位两面玩法,结果4月份一共收米了2000多。. v. p- X5 q3 ^  u6 ^( @

+ w  u/ M- ?5 S% y& Y. ]2 W8 U: X0 t8 l- k( ^& L3 a
6.jpg ; u" Q* v" e! s7 H
1.jpg 8 M& |, Z- l) n

评分

参与人数 1金币 +8 收起 理由
海燕RG + 8 实战分享

查看全部评分

回复

使用道具 举报

6

主题

4880

回帖

3614

金币

金牌会员

积分
21658
发表于 2026-4-20 06:14 | 显示全部楼层
三定位两面玩法坚持下来居然收两千多,晚上还稳定拿五百多,看来选对路子加稳扎稳打才靠谱,这节奏可以啊
回复 支持 反对

使用道具 举报

8

主题

1万

回帖

5987

金币

千足金牌会员

积分
61908

老会员光影行者

发表于 2026-4-20 06:21 | 显示全部楼层
保持策略确实重要,三定位两面玩法的确能稳定不少,这四月份的战绩真不错
回复 支持 反对

使用道具 举报

2564

主题

8万

回帖

2603

金币

海燕硕士

积分
227383

老会员超级精华精华勋章美女勋章勤奋勋章交易勋章万时之王

发表于 2026-4-20 07:43 | 显示全部楼层
有一个好的节奏确实是可以赚到钱的呀
回复 支持 反对

使用道具 举报

2564

主题

8万

回帖

2603

金币

海燕硕士

积分
227383

老会员超级精华精华勋章美女勋章勤奋勋章交易勋章万时之王

发表于 2026-4-20 07:43 | 显示全部楼层
bai 发表于 2026-4-20 06:21
! I4 C, J% {+ r$ D' d0 \" F4 O. Z: S保持策略确实重要,三定位两面玩法的确能稳定不少,这四月份的战绩真不错 ...

! ~$ A# t2 H, Z3 |. H2 ?7 D保持这样的重要性也是不容易的事情
回复 支持 反对

使用道具 举报

53

主题

2万

回帖

1万

金币

钻石用户

积分
101460

老会员光影行者

发表于 2026-4-20 08:57 | 显示全部楼层
三定位两面能坚持下来确实不容易,四月两千多的收获也说明策略执行到位了
回复 支持 反对

使用道具 举报

53

主题

2万

回帖

1万

金币

钻石用户

积分
101460

老会员光影行者

发表于 2026-4-20 08:57 | 显示全部楼层
杨雪儿 发表于 2026-4-20 07:43, r* L  j! e$ j# A0 ?6 R0 i# |! {
有一个好的节奏确实是可以赚到钱的呀

/ d; m) R# `1 d. k2 ?( W4 ?7 C' x1 O节奏稳了心态就稳,盈利自然跟着来,这状态保持得真不错
回复 支持 反对

使用道具 举报

53

主题

2万

回帖

1万

金币

钻石用户

积分
101460

老会员光影行者

发表于 2026-4-20 08:58 | 显示全部楼层
杨雪儿 发表于 2026-4-20 07:436 G* x# ~/ ~( l# j
保持这样的重要性也是不容易的事情
5 N- {  V0 I( U2 M
能稳住节奏确实关键,这五百多块的收获就是耐心最好的回报了
回复 支持 反对

使用道具 举报

8

主题

8794

回帖

1万

金币

千足金牌会员

积分
48618
发表于 2026-4-20 09:03 | 显示全部楼层
可以收米这么多钱也是非常厉害的了
回复 支持 反对

使用道具 举报

8

主题

8794

回帖

1万

金币

千足金牌会员

积分
48618
发表于 2026-4-20 09:03 | 显示全部楼层
杨雪儿 发表于 2026-4-20 07:43
5 `* h  t* N6 w+ D9 s& p有一个好的节奏确实是可以赚到钱的呀

% `6 f  D/ O; X9 o% P( s. m# M大家都是希望可以能够每天都有好节奏赚钱的
回复 支持 反对

使用道具 举报

8

主题

8794

回帖

1万

金币

千足金牌会员

积分
48618
发表于 2026-4-20 09:03 | 显示全部楼层
杨雪儿 发表于 2026-4-20 07:43
" i& i* E% j0 c保持这样的重要性也是不容易的事情

6 r& p2 R$ L" I1 Y' r; {( h* Q/ p这个确实是非常不容易的事情了
回复 支持 反对

使用道具 举报

11

主题

7146

回帖

8999

金币

金牌会员

积分
39267
发表于 2026-4-20 12:32 | 显示全部楼层
这样的收入也是会非常高兴的了
回复 支持 反对

使用道具 举报

11

主题

7146

回帖

8999

金币

金牌会员

积分
39267
发表于 2026-4-20 12:32 | 显示全部楼层
山区奥特曼 发表于 2026-4-20 09:03$ A7 N, Z, J1 Q, a$ L
大家都是希望可以能够每天都有好节奏赚钱的

8 r4 _6 f; x/ _* [% R: e( O如果能够每天都会有好节奏就更爽的了
回复 支持 反对

使用道具 举报

11

主题

7146

回帖

8999

金币

金牌会员

积分
39267
发表于 2026-4-20 12:32 | 显示全部楼层
山区奥特曼 发表于 2026-4-20 09:031 A3 R4 K  V0 a! X
这个确实是非常不容易的事情了

; X) c- O! Z& [' v3 H确实是非常不容易的事情了呢
回复 支持 反对

使用道具 举报

3

主题

5275

回帖

4044

金币

金牌会员

积分
23475
发表于 2026-4-20 12:57 | 显示全部楼层
这三定位两面的玩法挺扎实,4月进账两千多,全靠自家琢磨的策略,比瞎撞靠谱多了
回复 支持 反对

使用道具 举报

您需要登录后才可以回帖 登录 | 立即注册

本版积分规则

广告合作|福利汇|论坛简介|钱包教程|手机版|小黑屋|Archiver|海燕论坛

快速回复 返回顶部 返回列表