找回密码
 立即注册
澳门威尼斯人
U8
U18
海燕招商
A
蓝盾
e世博
islot.
申博亚洲
澳门银河
B
腾博会
德信
C级广告商
吉祥坊
查看: 8598|回复: 81

[真人] 【实战有奖】今天在通宝娱乐城真人打出来盈利110元

[复制链接]

3741

主题

7万

回帖

6582

金币

海燕硕士

积分
227846

万时之王老会员勤奋勋章交易勋章

发表于 2025-12-30 09:28 | 显示全部楼层 |阅读模式

马上注册,结交更多好友,享用更多功能,让你轻松玩转社区。

您需要 登录 才可以下载或查看,没有账号?立即注册

×
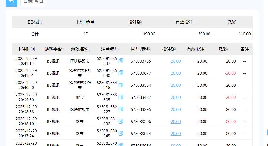
今天还是继续存款玩玩这个区块链色子了,最近玩这个游戏玩的还是很频繁的,今天的菠菜还是很给力的,开局命中率很高的,后面的下注玩起来就顺利很多了,最后的结果盈利110块钱,只要是能够做到赢钱就可以了,不输钱就可以了要求也不要太高了,菠菜就应该谨慎一点点慢慢来
0 w- M/ A8 \5 \0 L& _. D
) p+ X9 ]+ J9 _# Z6 E: F: w: m1 r! s7 i 360截图20251230084656564.jpg , e6 S- t' Z! R" d+ g6 t* \

/ U5 e# e, c" z  s0 [  Y( k开局第一单下注小打出来246点数12输掉了,第二弹继续下注大打出来356点数14成功赢钱了,第三单继续下注小打出来145点数10也是赢钱了,第四单继续下注小打出来146点数11输掉了,第五单继续下注小打出来113点数5成功赢钱了,第六单继续下注小打出来234点数9也是赢钱了,第七单继续下注小打出来235点数10也是赢钱了,连红3局还是很不错的结果了,第八单继续下注小打出来456点数15输掉了,第九弹继续下注小打出来114点数6也是赢钱了,第十单继续下注小打出来234点数9成功赢钱了,最后的结果打出来110块钱的盈利,这个盈利也是很不错的结果了,只要是不输钱就可以了,保住盈利也是很重要的
$ z) @0 P+ f$ V( y7 P, y0 W0 ^ 360截图20251230084733329.jpg 360截图20251230084923819.jpg 360截图20251230084933003.jpg 360截图20251230084943866.jpg # c5 _0 B  L+ p
2 Z) ]! G% I; Q# s
今天的菠菜还是很给力的,开局下注玩起来还是顺利了,最后的结果打出来110块钱的盈利,能够做到赢钱已经很不错了,下次再玩就可以了,保住盈利不要输掉就可以了慢慢来吧,110块钱也可以接受的结果了,最近这个区块链色子玩的还是很成功的,今天的菠菜就这样吧/ G8 _, j4 W& k$ W9 a. C6 X& h4 I
$ c$ R% F* m7 J2 T
回复

使用道具 举报

6

主题

7761

回帖

4017

金币

金牌会员

积分
31538

老会员

发表于 2025-12-30 10:02 | 显示全部楼层
盈利了一百多块运气还是不错,希望可以继续有好运气了
回复 支持 反对

使用道具 举报

228

主题

1万

回帖

3487

金币

千足金牌会员

积分
47668

老会员

发表于 2025-12-30 13:44 | 显示全部楼层
楼主的运气还是非常不错,一会就是完成了今天的博弈游戏收米$ c" `" N; O- o/ W3 f$ t
回复 支持 反对

使用道具 举报

677

主题

4万

回帖

1066

金币

钻石用户

积分
119592

老会员勤奋勋章交易勋章光影行者

发表于 2025-12-30 14:34 | 显示全部楼层
玩的还是非常不错的,赚到了100多 那就是好成绩的了哦  
回复 支持 反对

使用道具 举报

677

主题

4万

回帖

1066

金币

钻石用户

积分
119592

老会员勤奋勋章交易勋章光影行者

发表于 2025-12-30 14:34 | 显示全部楼层
似水流年 发表于 2025-12-30 10:02
. N4 M. f9 X( n: F, g- Z- S6 e盈利了一百多块运气还是不错,希望可以继续有好运气了
/ b4 K) y- J1 s- O  m' v
有这样的收入肯定是不错的,属于是比较幸运的人的咯
回复 支持 反对

使用道具 举报

677

主题

4万

回帖

1066

金币

钻石用户

积分
119592

老会员勤奋勋章交易勋章光影行者

发表于 2025-12-30 14:34 | 显示全部楼层
hy188820 发表于 2025-12-30 13:44# I/ d/ r( a1 j5 h+ c; {
楼主的运气还是非常不错,一会就是完成了今天的博弈游戏收米

6 `; a% U4 D+ F2 W# P9 g- G# K, w能够顺利赚到钱出来,那就是本事,已经是很到位的哦  
回复 支持 反对

使用道具 举报

625

主题

2万

回帖

3085

金币

铂金用户

积分
72619

老会员

发表于 2025-12-30 15:35 | 显示全部楼层
ronald263 发表于 2025-12-30 14:34' r) H- z( _0 N9 P/ a8 f
有这样的收入肯定是不错的,属于是比较幸运的人的咯
" M% W3 X. L/ a& Q
还是很给力了, 得到了这个结果了,真心很舒服了的啊
回复 支持 反对

使用道具 举报

625

主题

2万

回帖

3085

金币

铂金用户

积分
72619

老会员

发表于 2025-12-30 15:35 | 显示全部楼层
ronald263 发表于 2025-12-30 14:34
% ~* y: h  b8 }. C能够顺利赚到钱出来,那就是本事,已经是很到位的哦
' \& \; r7 t6 W3 t/ |) Z1 [' J
可以拿到了该有结果了, 真心很舒服,很开心的啊
回复 支持 反对

使用道具 举报

625

主题

2万

回帖

3085

金币

铂金用户

积分
72619

老会员

发表于 2025-12-30 15:36 | 显示全部楼层
盈利了那么多出来,也是你的直属足够给力的啊
回复 支持 反对

使用道具 举报

3942

主题

8万

回帖

8398

金币

海燕硕士

积分
243554

万时之王老会员精华勋章勤奋勋章

发表于 2025-12-30 15:51 | 显示全部楼层
最后在这里盈利了这么多,确实还是挺开心的,希望后面的发送越来越漂亮。行
回复 支持 反对

使用道具 举报

3942

主题

8万

回帖

8398

金币

海燕硕士

积分
243554

万时之王老会员精华勋章勤奋勋章

发表于 2025-12-30 15:51 | 显示全部楼层
laowanba 发表于 2025-12-30 15:366 W! N, A6 d: p6 P  E
盈利了那么多出来,也是你的直属足够给力的啊

6 U; x1 e- H# e运气好的时候就是不一样啊,100多块钱其实还是可以去小小的吃一顿了。
回复 支持 反对

使用道具 举报

3942

主题

8万

回帖

8398

金币

海燕硕士

积分
243554

万时之王老会员精华勋章勤奋勋章

发表于 2025-12-30 15:52 | 显示全部楼层
ronald263 发表于 2025-12-30 14:344 z4 r1 S% F* K0 N7 K# {
能够顺利赚到钱出来,那就是本事,已经是很到位的哦

' e; _5 J0 R1 ?7 ]2 i9 o  S! x只能证明这个胜率还是把握的挺好的,在这方面的话呢,技术是很强的呀。
回复 支持 反对

使用道具 举报

1214

主题

3万

回帖

968

金币

铂金用户

积分
94725

老会员交易勋章光影行者

发表于 2025-12-30 19:13 来自手机 | 显示全部楼层
最终有所盈利就好了呀,更何况你还赢了这么多,真的也是非常爽的一个感觉的了
回复 支持 反对

使用道具 举报

1214

主题

3万

回帖

968

金币

铂金用户

积分
94725

老会员交易勋章光影行者

发表于 2025-12-30 19:13 来自手机 | 显示全部楼层
似水流年 发表于 2025-12-30 10:022 L4 Z: C2 C4 Q% H$ `  T& p: `) b
盈利了一百多块运气还是不错,希望可以继续有好运气了
! p- P6 {) t0 G: n
我们既然玩了,就希望每一次来玩的时候都能够有一个好的收获的了
回复 支持 反对

使用道具 举报

1214

主题

3万

回帖

968

金币

铂金用户

积分
94725

老会员交易勋章光影行者

发表于 2025-12-30 19:13 来自手机 | 显示全部楼层
hy188820 发表于 2025-12-30 13:44- B9 q: D8 _7 H  N6 x) t# D! @
楼主的运气还是非常不错,一会就是完成了今天的博弈游戏收米

( _2 H/ c2 @" z+ T- A$ y, n" @& d的确是很好的运气了,所以他完成任务的话也就很快的了
回复 支持 1 反对 0

使用道具 举报

您需要登录后才可以回帖 登录 | 立即注册

本版积分规则

广告合作|福利汇|论坛简介|钱包教程|手机版|小黑屋|Archiver|海燕论坛

快速回复 返回顶部 返回列表