找回密码
 立即注册
澳门威尼斯人
U8
U18
海燕招商
A
蓝盾
e世博
islot.
申博亚洲
澳门银河
B
开云
腾博会
德信
C级广告商
吉祥坊
华体会
查看: 26081|回复: 74

[彩票] 【实战有奖】威尼斯人台湾宾果连挂后稳收,亏损2450止步

[复制链接]

87

主题

2万

回帖

3694

金币

千足金牌会员

积分
68561

老会员交易勋章魅力达人

发表于 2025-10-6 16:17 | 显示全部楼层 |阅读模式

马上注册,结交更多好友,享用更多功能,让你轻松玩转社区。

您需要 登录 才可以下载或查看,没有账号?立即注册

×
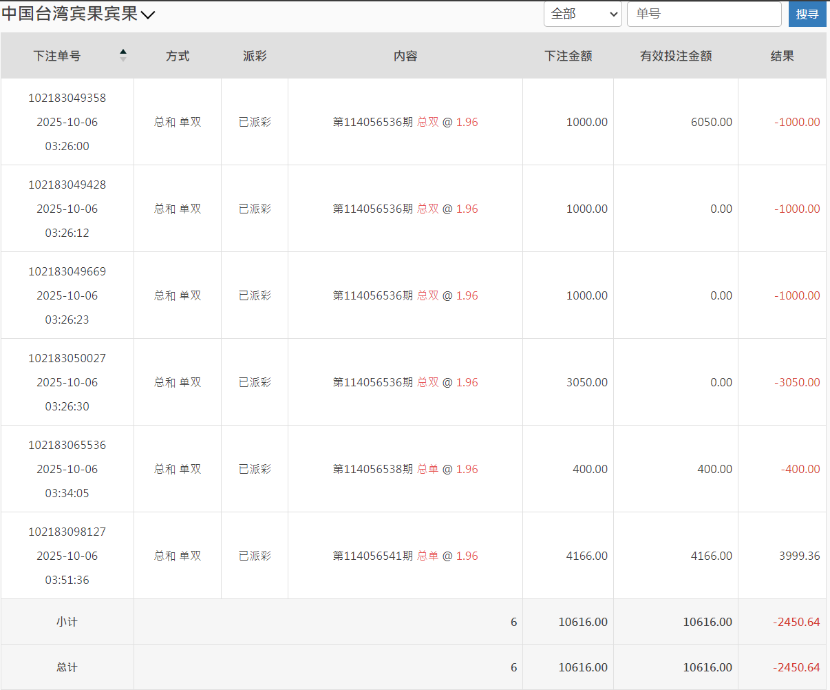
今天下午打了台湾宾果这一轮,整体过程挺曲折,但也算控制住了节奏。大概从下午三点左右开始进场,当时看走势总和“双”连开几期,手痒了,于是轻仓试单。原本打算随便玩玩,结果越看越不对劲,单双频繁切换,让人有点摸不清节奏。
* ~0 l4 Y3 W- }. ^. Q  t
4 U7 A) f0 @. Z# Z! I* v4 c这轮总共下了六单,前几把基本都在试探走势。结果连续几期都反着来,尤其是那笔3050的“总双”,被直接吃掉,账面一口气红到三千多。那一瞬间心态确实有点晃,手差点又去补仓。后来想到之前吃亏的经验,强行让自己停手,看完那期结果就去洗了个脸。) u- d" C& h' \6 F; l8 p
1 `, v0 {0 E9 A, K2 k8 _6 c: e6 \
回来后重新看走势图,发现节奏有点回稳,于是再上两把“总单”试水。最后一单我加到4166,打的第114056541期,终于中回来了3999.36,这口气算是稳了。整盘下来,亏了2450左右,折合人民币不到两千。6 Z9 _1 `0 R" ^+ h3 q
4 s% f0 T) @$ [
账面上虽然是负的,但我个人觉得这轮打得比前几次更“成熟”——不是赢多少的问题,而是我终于没再乱追。这次BBIN那边转入了10616,转出回大厅时剩8165,虽然账面亏损,但过程有节制、心态稳,算是一次小考合格。
4 m. n9 b1 p+ v. p  ]- |3 b/ T' T' Q  `% [; i( V; X6 A/ Y
过去我常常一看挂单就想加码“赢回来”,结果反而输更惨。现在我学会了一件事:赢钱靠机会,止损靠自律。只要不被情绪带走,长期来看反而能少损多赢。  l0 f5 V2 _& ?

5 E0 M( c- `- F另外,这轮台湾宾果的走势挺诡异的,总和单双跳得快,没有出现连续7期以上的连号。下午那段时间尤其乱,建议后面玩这盘口的兄弟们注意节奏,不要被短线结果误导。可以像我这样——前几期用小注探路,等走势方向稳定后再加码。) x! i2 u% c& n% i: i! C

5 w% q/ b1 k0 ?1 y0 b8 n& I+ H这次我还特地看了下注明细,总金额10616,有效投注全打满,亏损-2450.64。虽然是红的,但我反而挺高兴,因为这说明我守住了底线:没追加、没爆仓。
4 }; E% w* c# g* c4 F! t% Z* j( H
8 l) ]$ k$ d& b" r9 p7 M最后总结一句:
0 D9 v1 e, `- r4 ?% x输钱不可怕,乱输才可怕;稳得住,才是真正的赢。- W1 c0 J+ w/ L. s8 }$ ]; w' M1 ~
% u' K4 j5 {% O) f, d2 Z6 i
这两天论坛不少人也在分享台湾盘的节奏,我的经验是——宁可打慢,也不要乱节奏。未来几天我会继续观察走势,等连号或规律性区间出来,再考虑加仓。今天就到这,休息一会,晚上再看情况。
$ j9 s. h9 T0 ?( [/ H8 c& O' h& y4 {# d6 S9 b) L% F. A
QQ20251006-160203.png QQ20251006-160102.png
, W+ i( l4 t# b' m6 H; p9 O) {6 K5 h( f. ^: x: i
3 Y$ h5 q, j! ~$ F' s0 h( I
回复

使用道具 举报

1

主题

4994

回帖

4198

金币

金牌会员

积分
23389

老会员

发表于 2025-10-6 16:22 | 显示全部楼层
楼主亏损了还是要止损,回血了一大半还是挺不错了
回复 支持 反对

使用道具 举报

197

主题

6859

回帖

148

金币

银牌会员

积分
13995

老会员交易勋章

发表于 2025-10-6 17:56 | 显示全部楼层
你还玩这个啊,我是真没玩过这类彩票,是彩票没错吧,止损做到位就好
回复 支持 反对

使用道具 举报

7

主题

1万

回帖

7869

金币

铂金用户

积分
70216

光影行者

发表于 2025-10-6 19:37 | 显示全部楼层
3050那把真够呛,能忍住不补仓已经赢一半,节奏乱时洗脸是个好招
回复 支持 反对

使用道具 举报

3400

主题

4万

回帖

4115

金币

钻石用户

积分
116711

万时之王老会员勤奋勋章交易勋章

发表于 2025-10-6 19:48 | 显示全部楼层
老哥还是低调点吧, 亏损2450, 也是输太多了, 还是要及时收手,真不敢继续了
回复 支持 反对

使用道具 举报

3400

主题

4万

回帖

4115

金币

钻石用户

积分
116711

万时之王老会员勤奋勋章交易勋章

发表于 2025-10-6 19:49 | 显示全部楼层
蔬菜沙拉 发表于 2025-10-6 19:37
: ^. y8 y( y) @1 b7 Z3050那把真够呛,能忍住不补仓已经赢一半,节奏乱时洗脸是个好招
0 ~' l& p! s) r* }) P0 o$ Q* [
玩菠菜还是量力而行吧, 别玩太大了, 输太多了, 也是很影响心情了。
回复 支持 反对

使用道具 举报

3400

主题

4万

回帖

4115

金币

钻石用户

积分
116711

万时之王老会员勤奋勋章交易勋章

发表于 2025-10-6 19:49 | 显示全部楼层
二电厂哥 发表于 2025-10-6 17:56
* y& _% G, m5 G  N) d1 W3 B你还玩这个啊,我是真没玩过这类彩票,是彩票没错吧,止损做到位就好
8 J' m8 U. b# a8 t6 H
亏损了2450也是输太多了, 这钱能干很多事的了啊, 也是很遗憾了。
回复 支持 反对

使用道具 举报

3400

主题

4万

回帖

4115

金币

钻石用户

积分
116711

万时之王老会员勤奋勋章交易勋章

发表于 2025-10-6 19:50 | 显示全部楼层
shunlifeiup 发表于 2025-10-6 16:22
1 y1 _& V7 j4 G/ j( X楼主亏损了还是要止损,回血了一大半还是挺不错了

6 w' M8 a# x' X& ^( B; t! i  M损失惨重了呀, 输了这么多, 想回血都是很困难了啊, 还是休息冷静一下吧。
回复 支持 反对

使用道具 举报

374

主题

1559

回帖

1964

金币

铜牌用户

积分
8134

老会员交易勋章

发表于 2025-10-6 21:07 | 显示全部楼层
能够及时做到止损啊 还是很不容易的   及时调整吧!
回复 支持 反对

使用道具 举报

52

主题

2万

回帖

3490

金币

铂金用户

积分
71204

老会员光影行者

发表于 2025-10-7 02:34 | 显示全部楼层
别急着追,理性把握,稳住节奏,总会有赚钱的时候,节制至关重要
回复 支持 反对

使用道具 举报

52

主题

2万

回帖

3490

金币

铂金用户

积分
71204

老会员光影行者

发表于 2025-10-7 02:34 | 显示全部楼层
蔬菜沙拉 发表于 2025-10-6 19:37  K; E* ]4 Y4 {& L
3050那把真够呛,能忍住不补仓已经赢一半,节奏乱时洗脸是个好招

- \8 F$ {- B. F: @3050那把确实有点狼狈,不过威尼斯人台湾宾果稳住节奏,亏损2450也算是及时止损
回复 支持 反对

使用道具 举报

2385

主题

8万

回帖

4248

金币

海燕硕士

积分
218694

老会员超级精华精华勋章美女勋章勤奋勋章交易勋章万时之王

发表于 2025-10-7 05:46 | 显示全部楼层
输掉了2000多块能够止损离开也是比较理智的一个人吧
回复 支持 反对

使用道具 举报

2385

主题

8万

回帖

4248

金币

海燕硕士

积分
218694

老会员超级精华精华勋章美女勋章勤奋勋章交易勋章万时之王

发表于 2025-10-7 05:46 | 显示全部楼层
whywhy 发表于 2025-10-7 02:34- l+ X0 S0 V. g" d5 ~1 r; ]
3050那把确实有点狼狈,不过威尼斯人台湾宾果稳住节奏,亏损2450也算是及时止损 ...

# K0 P( L/ ~6 p: ^% J9 g反正自己的节奏要把握好,不然输的就是自己的钱
回复 支持 反对

使用道具 举报

2385

主题

8万

回帖

4248

金币

海燕硕士

积分
218694

老会员超级精华精华勋章美女勋章勤奋勋章交易勋章万时之王

发表于 2025-10-7 05:46 | 显示全部楼层
whywhy 发表于 2025-10-7 02:34* l7 u. d) u2 ?) ]
别急着追,理性把握,稳住节奏,总会有赚钱的时候,节制至关重要
& D! t' ^- Q/ D/ }
这个节奏导致的亏损也是没有办法的事,毕竟输了这么多
回复 支持 反对

使用道具 举报

2385

主题

8万

回帖

4248

金币

海燕硕士

积分
218694

老会员超级精华精华勋章美女勋章勤奋勋章交易勋章万时之王

发表于 2025-10-7 05:46 | 显示全部楼层
莫扎特06 发表于 2025-10-6 19:49& U% `# P; b+ i
亏损了2450也是输太多了, 这钱能干很多事的了啊, 也是很遗憾了。

0 R3 B; C9 D" |: o! I$ k输的太多也是要想办法把它搞回来,不然也是难受
回复 支持 反对

使用道具 举报

您需要登录后才可以回帖 登录 | 立即注册

本版积分规则

广告合作|福利汇|论坛简介|钱包教程|手机版|小黑屋|Archiver|海燕论坛

快速回复 返回顶部 返回列表