找回密码
 立即注册
澳门威尼斯人
U8
U18
海燕招商
A
蓝盾
e世博
islot.
申博亚洲
澳门银河
B
开云
腾博会
德信
C级广告商
吉祥坊
华体会
查看: 29931|回复: 63

[彩票] 【实战有奖】澳门威尼斯人 9月22日台彩宾果5单连打,千元资金小亏78元

[复制链接]

52

主题

2万

回帖

3490

金币

铂金用户

积分
71204

老会员光影行者

发表于 2025-9-22 16:31 | 显示全部楼层 |阅读模式

马上注册,结交更多好友,享用更多功能,让你轻松玩转社区。

您需要 登录 才可以下载或查看,没有账号?立即注册

×
资金往来和投注流水都放出来,输赢数据一清二楚。虽说整体亏损不大,但过程曲折,值得写个复盘总结,也方便坛友们交流经验。
4 g1 i* _2 X8 e3 ]- i  K
一、资金进出明细
; [3 K0 K- k' s9 R, g- Y+ z
从账户明细图上可以看到,今天资金主要在 大厅与BBIN彩票 之间来回切换:
  a0 c( y! d+ p; v% i5 w
15:50:从大厅转出 1050.15元 到 BBIN 彩票账户。
3 l3 A. t9 n( i6 a
16:23:BBIN 彩票结算后转回大厅 972.15元。

0 U) [! U1 n) j! m- E4 T& H
换句话说,我拿出1050元作为实战本金,经过一轮下注后,最终回到大厅的资金是972元,整体小亏78元。
; C; ]" O% X8 D' {; r5 ^
二、投注记录回顾
! j2 w' A# _9 m" U2 c; j1 v- H5 }/ d
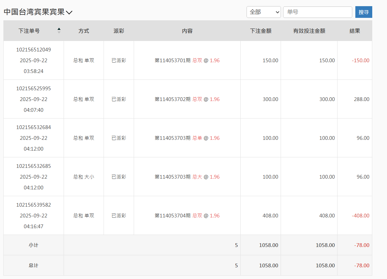
下注明细主要集中在 中国台湾宾果 的单双、大小玩法。时间段是凌晨 3:58 到 4:16,共下了 5 单,总投入 1058 元。
" l7 S7 t/ o0 q  e- ?
具体如下:

' O4 x) r  F' o+ `) O* a( b
第114053701期 总双 @1.96
投注150元,结果亏损,-150元。

2 r' ~6 V/ B4 S4 t
第114053702期 总双 @1.96
投注300元,中奖派彩288元,等于小赚-12元(实际上赔率稍有差异)。
  \; Q' ~" B1 a3 b0 q* ~: T  d+ t
第114053703期 总单 @1.96
投注100元,派彩96元,小赚-4元。
! C' c+ T! I3 ?- Y( c, a1 _
第114053703期 总大 @1.96
投注100元,派彩96元,同样微亏4元。
4 |) q/ f+ U% y+ ^" ~) n7 M
第114053704期 总双 @1.96
投注408元,结果失利,-408元。

5 C& ^4 D8 |8 ]3 M( ^/ B8 ~
小结:

( ?& S$ U! O+ W$ t6 |9 s6 Z
总下注额 1058元
- k- V$ _, I  ~4 M9 R. ?
总结果 -78元

1 B7 v9 g" Q! P: ?: ?% }
有效投注 1058元

; Y; y; G' |4 `7 J" g
虽然看似金额不大,但起伏明显,尤其最后一单408元的重注,直接把前面几手的努力全部打掉。
$ Y$ ]* e( M8 B4 `3 R
三、实战中的问题

6 ]/ a3 d, p9 S2 O
开局方向不稳
第一手就150元押“双”,结果直接亏,导致后续心态偏急。
% F! |# v* l: q
加注策略混乱
第五手突然加到408元,这其实就是想一把翻本,结果正好遇上失利,亏损被放大。

9 e1 t. `& a7 k# Z8 K% Z# ?; b
赔率差异小
宾果的单双/大小,赔率都在1.96上下,长期拼下来很容易被水钱吃掉。今天虽然有几单“中”,但派彩比下注额略低,看起来是赢,其实也是亏。
7 e- Z9 k, c' ?$ z6 a' {
四、经验总结
7 a: p  {7 F* m. h
不要冲动加注
今天最致命的就是最后一手408元。前面都是百元级别,突然放大到四百,结果输了直接吃掉全部利润,得不偿失。
0 r; t6 Q$ {; P( h1 {
合理规划资金
1050元本金,本可以拆分成十几手小注慢慢打,把波动摊平。但因为急于回血,结果越陷越深。

2 t; _2 u7 D% ^8 `
赔率细节要注意
1.96看似接近2,其实长期下来是巨大的差别。如果打法不精准,边际损失会被放大。

- ~( C1 M$ ^, `" S5 K" k7 g) `
控制节奏
今天的下注时间都集中在20分钟内,连下5手,几乎没停顿。其实完全可以隔几期观察走势,而不是短时间硬刚。
: A9 c5 h" t% J
五、结语

& r8 ~! X1 N5 k" I1 g
这次实战虽然只亏了78元,但过程暴露了很多问题:冲动、乱加注、没设止损。要不是最后一手重注失利,今天其实还能保本。

; M# b* o3 t1 O' E1 v+ \
以后计划改进打法:
) Y7 p. n* p; }8 k5 R. L
每手控制在100-200元,不随意放大;

) o$ Z" P6 Y- u5 j
设置止损点,比如亏损超过300元就收手;
2 ~4 S% U8 K; ?5 I1 ]
拉长观察时间,不必每期都上。

1 f! @) s; Z; U
兄弟们,你们在玩台湾宾果的时候,一般是倍投翻身,还是小注慢磨?欢迎在楼下交流思路,互相借鉴下经验。
QQ20250922-162509.png QQ20250922-162336.png

# j% X) D- h$ g+ c5 E
回复

使用道具 举报

31

主题

6660

回帖

295

金币

银牌会员

积分
19651

老会员光影行者

发表于 2025-9-22 16:54 | 显示全部楼层
运气很一般呀,大注码没有中奖成功,确实非常可惜的
回复 支持 反对

使用道具 举报

374

主题

1559

回帖

1964

金币

铜牌用户

积分
8134

老会员交易勋章

发表于 2025-9-22 22:03 | 显示全部楼层
好在输的不多 慢慢积累经验 争取一次赢个大的啊!
回复 支持 反对

使用道具 举报

62

主题

4万

回帖

720

金币

钻石用户

积分
122198

万时之王老会员勤奋勋章交易勋章光影行者

发表于 2025-9-23 06:41 | 显示全部楼层
遗憾的结果了,也是没有办法了,亏损了一天的 伙食费也是很无奈的了难搞的!
回复 支持 反对

使用道具 举报

62

主题

4万

回帖

720

金币

钻石用户

积分
122198

万时之王老会员勤奋勋章交易勋章光影行者

发表于 2025-9-23 06:41 | 显示全部楼层
sq1188 发表于 2025-9-22 22:03" X2 m/ s% c8 d2 z% f' ]2 p
好在输的不多 慢慢积累经验 争取一次赢个大的啊!
/ @$ `2 V& V" s- Z8 j1 e( ~4 l
确实是,慢慢的来,总会有盈利的时候了,一定要好好的把握一下加油多赚钱吧!
回复 支持 反对

使用道具 举报

62

主题

4万

回帖

720

金币

钻石用户

积分
122198

万时之王老会员勤奋勋章交易勋章光影行者

发表于 2025-9-23 06:41 | 显示全部楼层
决战夕阳 发表于 2025-9-22 16:542 Z9 C7 U) x; ?6 B$ F1 i& @) `. k' }
运气很一般呀,大注码没有中奖成功,确实非常可惜的

/ z2 _' l! a, E1 @4 n" z0 ^  b确实是可惜了 ,也是没有办法了,所以太需要有个好运气的啊!
回复 支持 反对

使用道具 举报

1852

主题

6万

回帖

2356

金币

钻石用户

积分
175732

万时之王老会员勤奋勋章交易勋章

发表于 2025-9-23 07:25 | 显示全部楼层
决战夕阳 发表于 2025-9-22 16:54
9 \9 J& ^- k4 Z; Z6 V) ?运气很一般呀,大注码没有中奖成功,确实非常可惜的
: C# ^% C! e7 {1 O! c' n
这个结果是真的比较可惜的希望下一次是能够赢回来的吧
1 o. \2 ~* p% U' E# a  i8 }; Q  |
回复 支持 反对

使用道具 举报

1852

主题

6万

回帖

2356

金币

钻石用户

积分
175732

万时之王老会员勤奋勋章交易勋章

发表于 2025-9-23 07:25 | 显示全部楼层
奔四 发表于 2025-9-23 06:41
- {, \9 ~  F6 x确实是可惜了 ,也是没有办法了,所以太需要有个好运气的啊!

- N+ `4 m" \2 T" Z+ F! `8 Y这个没有运气当然是不行的了运气不好一点办法都没有
4 f1 W  M6 T/ Z5 X$ R: O  q1 O
回复 支持 反对

使用道具 举报

1852

主题

6万

回帖

2356

金币

钻石用户

积分
175732

万时之王老会员勤奋勋章交易勋章

发表于 2025-9-23 07:25 | 显示全部楼层
这样的损失也是真的比较遗憾的希望下次能够打回来吧
, l' @$ U) L' F" P% K+ W  Z
回复 支持 1 反对 0

使用道具 举报

2385

主题

8万

回帖

4248

金币

海燕硕士

积分
218694

老会员超级精华精华勋章美女勋章勤奋勋章交易勋章万时之王

发表于 2025-9-23 07:27 | 显示全部楼层
亏损了几十块钱也是因为运气不好我也能理解你的心情
回复 支持 反对

使用道具 举报

2385

主题

8万

回帖

4248

金币

海燕硕士

积分
218694

老会员超级精华精华勋章美女勋章勤奋勋章交易勋章万时之王

发表于 2025-9-23 07:28 | 显示全部楼层
yb454553 发表于 2025-9-23 07:25
8 _7 M8 Z5 u' Y& x1 c: \这样的损失也是真的比较遗憾的希望下次能够打回来吧

) h: B5 O/ T8 g8 ?1 p0 O这个损失已经出现了,也是自己的一个原因,不好玩的呀
回复 支持 反对

使用道具 举报

2385

主题

8万

回帖

4248

金币

海燕硕士

积分
218694

老会员超级精华精华勋章美女勋章勤奋勋章交易勋章万时之王

发表于 2025-9-23 07:28 | 显示全部楼层
yb454553 发表于 2025-9-23 07:257 V2 S0 h' g  d: ], O+ D0 O( @  s( y
这个没有运气当然是不行的了运气不好一点办法都没有

$ v" K# q" X9 c; y. a4 J运气不行就不要玩,不然亏损的也是自己吧
回复 支持 反对

使用道具 举报

2385

主题

8万

回帖

4248

金币

海燕硕士

积分
218694

老会员超级精华精华勋章美女勋章勤奋勋章交易勋章万时之王

发表于 2025-9-23 07:28 | 显示全部楼层
奔四 发表于 2025-9-23 06:41
* y9 ]5 r/ v$ o0 }确实是可惜了 ,也是没有办法了,所以太需要有个好运气的啊!

+ |8 ]' ]: p) g! ?' U! o这样子可惜的话就不要玩了,输的多了也是难受
回复 支持 反对

使用道具 举报

2385

主题

8万

回帖

4248

金币

海燕硕士

积分
218694

老会员超级精华精华勋章美女勋章勤奋勋章交易勋章万时之王

发表于 2025-9-23 07:28 | 显示全部楼层
奔四 发表于 2025-9-23 06:41
) ^! F9 h) b: I8 d) O5 B( R确实是,慢慢的来,总会有盈利的时候了,一定要好好的把握一下加油多赚钱吧!  ...

2 a3 _8 F' u0 I2 K: p问题是不知道什么时候盈利,也只是自己的一个猜测
回复 支持 反对

使用道具 举报

2385

主题

8万

回帖

4248

金币

海燕硕士

积分
218694

老会员超级精华精华勋章美女勋章勤奋勋章交易勋章万时之王

发表于 2025-9-23 07:28 | 显示全部楼层
sq1188 发表于 2025-9-22 22:03
0 p" d6 _* e4 @! v' K7 j$ t好在输的不多 慢慢积累经验 争取一次赢个大的啊!

0 G# V. \4 o8 b* z输的不多,就当是一个教训吧,每次我还是小心一点
回复 支持 1 反对 0

使用道具 举报

您需要登录后才可以回帖 登录 | 立即注册

本版积分规则

广告合作|福利汇|论坛简介|钱包教程|手机版|小黑屋|Archiver|海燕论坛

快速回复 返回顶部 返回列表